Seštevalnik/razdelilnik anten SAR Barczak
Koda: L-ZLA0996Podroben opis izdelka
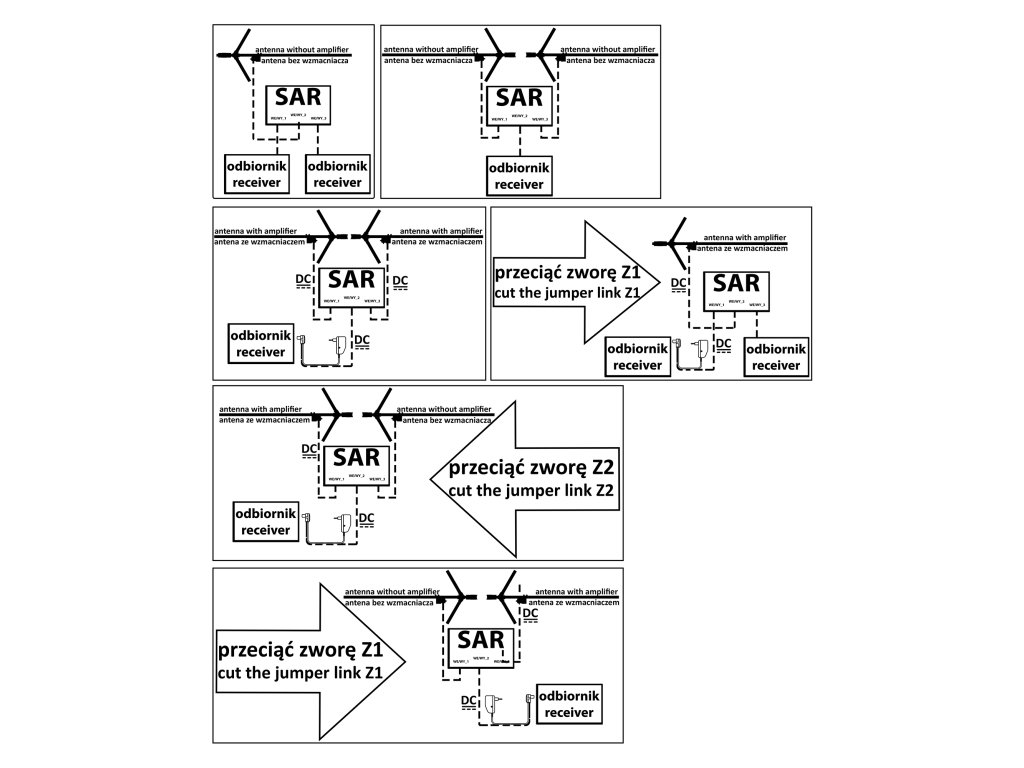
SAR je antenski delilnik zgrajevalnik zasnovan na ločilnem transformatorju. Med sponkami
(WE/WY_1 / 2 / 3) obstaja prehod za enosmerni tok, kar omogoča napajanje antenskih ojačevalnikov skozi
koaksialni kabel.
Pozor! Če napajate ojačevalnik samo ene antene, morate prekiniti povezavo (Z1 ali Z2) v krogu
antene brez ojačevalnika.
Možnost delovanja v dveh načinih:
1. Sumar – združevanje signala iz dveh RTV anten v en sprejemnik.
2. Razdelilnik – razdelitev signala iz ene antene na dva RTV sprejemnika.
Zahvaljujemo se vam za zaupanje in izbiro izdelkov podjetja Barczak. Prepričani smo, da bodo izpolnili vaša
pričakovanja. Želimo vam dober sprejem in zadovoljstvo pri uporabi naprave.
Tehnični podatki:
Sprejemni pas: UKV-FM, VHF, UHF
Kanali: 1-60
Frekvenčni razpon: 1 - 694 [MHz]
Ujemanje, koeficient stoječega vala (VSWR): < 2,0
Dušenje: do 4 dB
Število priključkov: 3
Vrsta priključkov: sponke
Vhodna impedanca: 75[ ]
Izhodna impedanca: 75[ ]
Material ohišja: ABS
Montaža na drog: objemka##
Dodatni parametri
| Kategorija: | Elektroinštalacija |
|---|---|
| Teža: | 0.09 kg |
| EAN: | 5907799750572 |
Ocena izdelka
Bodite prvi, ki bo objavil članek k tej postavki!
Razprava
Bodite prvi, ki bo objavil članek k tej postavki!
